Ένα νέο χειριστήριο φαίνεται πως σχεδιάζει να λανσάρει στο μέλλον η Sony Interactive Entertainment, το οποίο θα έρθει με ορισμένες ιδιαίτερες δυνατότητες. Σύμφωνα με πρόσφατο δημοσίευμα του GameRant, η εταιρεία κατοχύρωσε πατέντα για ένα PlayStation controller, το οποίο θα “φιλοξενεί” και θα φορτίζει wireless earbuds.
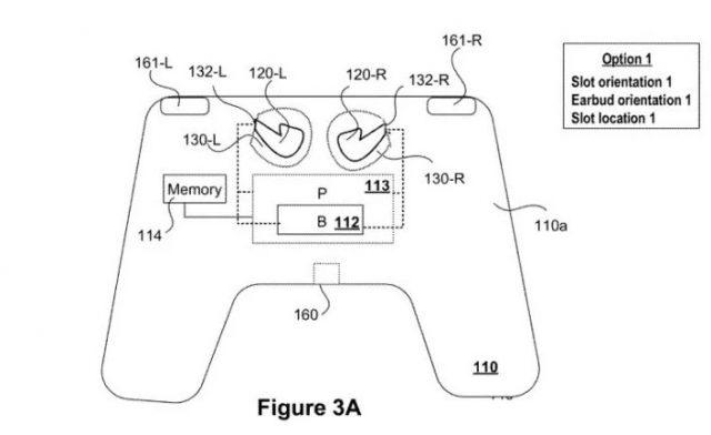
Πιο συγκεκριμένα, η εταιρεία επεξεργάζεται το ενδεχόμενο να ενσωματώσει σε ένα νέο χειριστήριο τη δυνατότητα αποθήκευσης και φόρτισης ασύρματων ακουστικών. Το δίπλωμα ευρεσιτεχνίας που ήρθε στη δημοσιότητα περιλαμβάνει εικόνες που δείχνουν ότι τα ακουστικά θα μπορούσαν ενδεχομένως να αποθηκευτούν σε πολλές διαφορετικές θέσεις στο χειριστήριο, γεγονός που υποδηλώνει ότι η διαμόρφωση δεν είχε ολοκληρωθεί όταν η πατέντα δημοσιεύτηκε.

Το προϊόν θα εξαλείψει την ανάγκη του χρήστη για ξεχωριστό pair του χειριστηρίου και των ακουστικών του σε μια κονσόλα, καθώς και την ανάγκη διαχείρισης ξεχωριστών καταστάσεων που αφορούν τη διάρκεια ζωής της μπαταρίας, προκειμένου να διασφαλιστεί ότι φορτίζονται το χειριστήριο, τα ακουστικά και η θήκη για τα ακουστικά.
“Το χειριστήριο έχει σχεδιαστεί για να λειτουργεί τόσο ως συσκευή εισόδου όσο και ως θήκη αποθήκευσης, φόρτισης και σύνδεσης ακουστικών”, αναφέρει η Sony. “Η χρήση του χειριστηρίου ως θήκη ακουστικών και φορτιστή ακουστικών εξαλείφει την ανάγκη διαχείρισης δύο ξεχωριστών συσκευών.
“Αυτό απλοποιεί τη συνολική εμπειρία χρήστη, καθώς έχει μία συσκευή λιγότερη.” Παράλληλα, η εταιρεία προσθέτει: “Καθώς η φορητότητα γίνεται πιο mainstream, η εμπειρία ήχου γίνεται επίσης πιο σημαντική”.





